0086-18861028088
YG непрерывный вращающийся барабанный фильтр для продажи может использоваться для быстрого выполнения разделения твердого вещества и жидкости различных суспензионных материалов с такими характеристиками, как непрерывная разгрузка, высокая пропускная способность, хороший эффект обезвоживания, отличная рабочая среда, низкая площадь и высокая степень автоматизации. Конструкция барабанного фильтра соответствует требованиям GMP и FDA. Являясь одним из профессиональных производителей барабанных фильтров, Saideli предлагает подходящий барабанный фильтр для продажи в соответствии с вашими потребностями. Если вы хотите его, мы можем предоставить его вам по конкурентоспособной цене барабанного фильтра. Свяжитесь с нами сегодня и увеличьте свою деятельность с непрерывным роторным фильтром давления барабанчика для оптимальной эффективности!
Непрерывный роторный фильтр барабанчика вращает центростремительное внутри снабжения жилищем давления на бесконечно переменной скорости. Камера кольца между барабанчиком и снабжением жилищем принимает особенное уплотнение упаковки и была отделена в несколько камер уплотнения газа. Фильтрующие блоки, образованные фильтрующей жидкостью трубой, и контрольные головки находятся на поверхности барабана. Подвеска будет непрерывно подаваться в фильтрующие блоки под давлением, и фильтровальная кека будет накапливаться в фильтрующих блоках. Под вращением барабанчика, торт фильтра будет перенесен к следующим блоку. После 4 шагов которые фильтровать, мыть, сушить, и дишаргинг, блоки полностью будут заполнены, тогда моя жидкость или газ будут кормиться для замены жидкости в одном участке для обеспечения жидкости идут через торт фильтра. В зоне разгрузки без давления фильтровальная коржа может быть разряжена через обратный обдув и подвижный скребок. Каждый фильтрующий блок будет вращаться вокруг оси во время вращения барабана.Этот типПромышленный центробежный фильтрРаботает непрерывно с подачей, фильтрацией, стиркой, сушкой и выгрузкой.
Барабанный фильтр под давлением может использоваться для всех непрерывных ротационных фильтров или суспензии серийного производства, а конструкция с полным уплотнением особенно подходит для фильтрации растворителей и разделения продуктов, которые должны быть выполнены в системе полного уплотнения, например, токсичных продуктов или продуктов, имеющих требования безопасности для растений или окружающей среды.
1. Краситель, пигмент
2. Пластик
3. Антибиотик
4. Пестицид, тонкий химикат
5. Продовольствие
Барабанный фильтр давления-это своего рода непрерывный фильтр с герметизирующей конструкцией. Фильтр барабанчика давления принимает пефорированный барабанчик как средство фильтра и интегрирует мыть, извлечение, испарение и сушить в одной машине. И это своего рода твердое тело и жидкость отделяя машину запечатывания с непрерывной и автоматической уловкой твердых тел от подвеса (смешанного с твердым телом и жидкостью). При непрерывной работе, хотя и на низкой скорости, напорный фильтр вращающегося барабана будет с высокой эффективностью.

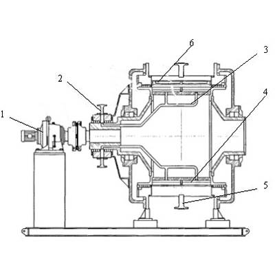
1. редуктор 2. распределительная головка 3. через трубу для жидкости 4. внутренний барабан 5. подающая труба 6. внешний барабан
